商城类网站建设步骤及流程,商城网站建设哪家便宜
大家好,今天来为大家分享商城类网站建设步骤及流程的一些知识点,和商城网站建设哪家便宜的问题解析,大家要是都明白,那么可以忽略,如果不太清楚的话可以看看本篇文章,相信很大概率可以解决您的问题,接下来我们就一起来看看吧!
本文目录一览:

- 〖壹〗、建设商城网站的步骤
- 〖贰〗、网上商城的开发流程
- 〖叁〗、详谈电商网站建设的四大流程
- 〖肆〗、如何建设商城网站?
- 〖伍〗、在线购物网站建设-如何建设商城网站?
- 〖陆〗、怎样建设商城网站呢
建设商城网站的步骤

〖壹〗、下面我们聊聊建设商城网站的步骤:域名 域名包括很多种,常见的有、等,这个不难,网上搜一下就能自己注册一个,有几十到几百不等,但是注意不同领域分含不同域名,像有些专门为教育、政府这些机构设立的,平常人是不能用的。
〖贰〗、建立网站,首先要注册一个域名,这个域名一定要好记,从几个大网站借鉴就可以。此外域名还要能显示出网站的意思,这样宣传效果会更佳,毕竟网站也是要推广,让更多人接受才可以。购买服务器,一般小网站买个空间就可以了,但是购物网站占用空间肯定大,所以要购买服务器的。
〖叁〗、注册一个域名,(域名就是如:baidu.com)一般注册世界域名.com/.net/.org还有很多域名但不常用其费用贵。购买虚拟主机(空间)就是一台比一般电脑好的电脑,称它为服务器,目的是把建战程序和数据库上传到空间。
〖肆〗、建设独立的B2C商城主要有以下几个步骤:建设的域名外贸b2c商城建设的域名比较好是世界顶级域名。在选取域名之前要明确产品品牌定位,域名要与产品有一定的关联,这样利于国外客户记忆。 海外主机/服务器服务器架设在国内的话,国外消费者打开网站速度肯定会收到影响。
网上商城的开发流程

商城版小程序及网上商城开发需系统规划并分阶段实施,具体流程如下:开发规划阶段需求分析与目标设定根据企业定位明确开发目标,包括预算范围、功能需求(如商品展示、支付、物流跟踪等)、用户群体特征及预期效果。例如,若目标用户为国内消费者,需优先适配国内支付接口与物流体系。
用户中心设计:简化操作流程(如一键登录、语音搜索),提升转化率。技术稳定性:确保高并发场景下(如双11)系统不崩溃,支付成功率99%。持续创新:结合新技术(如AI客服、区块链溯源)保持竞争力。通过以上步骤的系统执行,可开发出用户体验优异、功能完善的网上商城APP。
资源分配:根据目标规划预算、技术团队配置及时间节点,例如开发周期设定为6-8个月。关键输出:形成包含功能清单、技术架构图及里程碑计划的《商城开发规划书》。功能需求分析阶段核心目标:构建用户导向的功能体系 需求收集:显性需求:通过市场调研明确用户对药品搜索、在线支付、物流追踪等基础功能的需求。
药品网上商城的开发需遵循系统化流程,商联达总结的步骤涵盖规划、功能设计、建设实施到后期维护全流程,具体如下: 商城规划目标定位:明确开发药品网上商城的核心目的,例如拓展销售渠道、提升品牌影响力或优化客户服务。需结合企业战略制定可量化的目标,如用户注册量、订单转化率等。
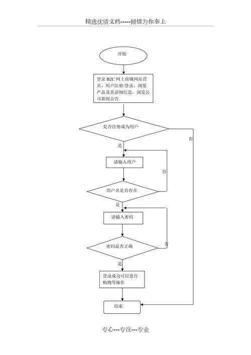
业务流程设计:设计商城的业务流程,包括用户注册登录、商品选购、下单支付、物流配送、售后服务等,确保流程顺畅、用户体验良好。系统架构设计 前端设计:根据需求分析结果,设计商城的前端界面,包括首页、商品列表页、商品详情页、购物车页、支付页等。界面设计应简洁明了,易于操作。
准备域名、服务器做开发前的物资准备,比如域名、服务器的准备。如果我们主要是面向国内的用户,选取国内的域名服务器就可以了;如果我们主要面向的用户是国外的用户,可以选取使用世界域名和海外的服务器。
详谈电商网站建设的四大流程

委托专业的网络公司开发网站。两种方式各有优点,第一种方式再好,难免也会出现各种问题。而请员工到公司来开发,成本又太高,不是很划算。所以创业期间可以选取第二种方式。选取一个很好的功能强劲的电商网站系统能够让你的创业事半功倍,少走弯路。电商网站内容充实起来是电商网站建设流程中一个必不可少的流程。
电商网站建设步骤包括需求分析、设计规划、开发实施、测试上线及运营维护;流程图绘制可通过在线工具按确立主题、添加节点、连接图形、输入内容、设置样式、检查节点及导出保存的步骤完成。电商网站建设步骤流程需求分析:明确网站目标、功能需求及目标用户群体,为后续设计开发提供基础。
电子商务网站规划设计以后,就开始进入网站的建设阶段,这一阶段主要有域名注册,网站配置,网页制作和网站测试的四个部分。除了电商网站测试,需要在其他三项完成之后才能进行之外,域名注册,网站配置和网页制作相对独立,可以同时进行。
程序开发 以上四步其实都是为这一步铺垫,这一步其实就是我们通常所说的网站建设,如果前期工作准备的好,这一步就像乐高拼图一样,有机的把上述内容连接在一起,如果企业直接进入这一步,会显得杂乱无章,对于网站建设公司来说,也会在设计上产生困难。
如何建设商城网站?

网站宣传手法多样化 宣传的手法不能太过局限单一,商城网站的发展,广告是少不了的,而且还需要随着情况而逐渐增大。做商城网站千万不能完全依赖seo,如果自然排名不好,需要加强内容、外链、软文的创作。同时还要考虑进行搜索引擎的广告。
建立网站,首先要注册一个域名,这个域名一定要好记,从几个大网站借鉴就可以。此外域名还要能显示出网站的意思,这样宣传效果会更佳,毕竟网站也是要推广,让更多人接受才可以。购买服务器,一般小网站买个空间就可以了,但是购物网站占用空间肯定大,所以要购买服务器的。
建设匠心独具的移动端商城网站需从页面设计、导航结构、内容布局及加载速度等核心环节入手,结合移动端特性优化用户体验,同时兼顾技术实现与细节打磨。 具体方法如下:移动端页面设计:适配屏幕特性,强化视觉体验分辨率适配与内容精简移动端屏幕尺寸有限,需优先保证内容清晰展示且避免冗余。
供应商 商城网站的建设基础之一就是供应商,保证良好的货物与优质产品,确保在市场上的竞争力 网站的定位 在建设商城网站钱,要先确定货物的层次,品牌,面向的人群,规模等,给网站以后发展一个明确清洗的定位。
在线购物网站建设-如何建设商城网站?

〖壹〗、如何建购物网站 建设购物网站的方法步骤是:购物网站前期准备工作,选取优质的购物商城货源,为后期的运营推广打下良好的基础。购物商城开发,在商城的架构上以及商城的管理运作上都有标准的执行流程,可以让商城运行更高效。
〖贰〗、建立网站,首先要注册一个域名,这个域名一定要好记,从几个大网站借鉴就可以。此外域名还要能显示出网站的意思,这样宣传效果会更佳,毕竟网站也是要推广,让更多人接受才可以。购买服务器,一般小网站买个空间就可以了,但是购物网站占用空间肯定大,所以要购买服务器的。
〖叁〗、在建立电商网站之前,首先要明确网站的目标和定位。这包括确定网站的主要功能(如商品展示、在线交易、客户服务等)、目标用户群体(如年龄、性别、消费习惯等)以及网站的品牌形象和特色。明确的目标和定位有助于后续的设计和开发工作,确保网站能够满足用户需求并脱颖而出。
〖肆〗、网站宣传手法多样化 宣传的手法不能太过局限单一,商城网站的发展,广告是少不了的,而且还需要随着情况而逐渐增大。做商城网站千万不能完全依赖seo,如果自然排名不好,需要加强内容、外链、软文的创作。同时还要考虑进行搜索引擎的广告。
〖伍〗、所以,利用工具搭建商城网站是一个省钱省事的办法。建站工具类型:传统类的建站工具(编程、代码软件)、模板建站平台(老一代的自助建站系统)、智能建站平台(新一代的自助建站系统)。
怎样建设商城网站呢

建设匠心独具的移动端商城网站需从页面设计、导航结构、内容布局及加载速度等核心环节入手,结合移动端特性优化用户体验,同时兼顾技术实现与细节打磨。 具体方法如下:移动端页面设计:适配屏幕特性,强化视觉体验分辨率适配与内容精简移动端屏幕尺寸有限,需优先保证内容清晰展示且避免冗余。
供应商 商城网站的建设基础之一就是供应商,保证良好的货物与优质产品,确保在市场上的竞争力 网站的定位 在建设商城网站钱,要先确定货物的层次,品牌,面向的人群,规模等,给网站以后发展一个明确清洗的定位。
注册一个域名,(域名就是如:baidu.com)一般注册世界域名.com/.net/.org还有很多域名但不常用其费用贵。购买虚拟主机(空间)就是一台比一般电脑好的电脑,称它为服务器,目的是把建战程序和数据库上传到空间。
好了,文章到此结束,希望可以帮助到大家。
发表评论